本期小编根据美国商标和专利局(USPTO)近日公示的清单,苹果公司最近获得了一项有关折叠屏手机的新专利,并在专利中重点介绍了全新的弹簧层概念,以减轻折叠时的压力。接下来我们一起往下看看吧。

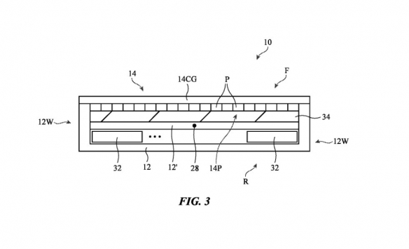
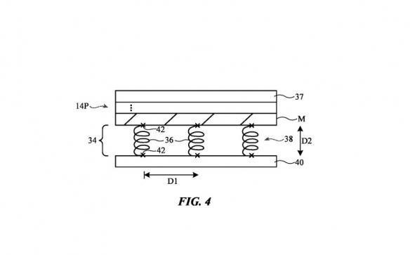
在设计讲解中,苹果表示该弹簧层由金属弹簧阵列组成,然后在弹簧层中内嵌力传感结构(如应变计)等传感器,此外专利中还表示如果有需要,可将泡沫柱和其他可压缩结构与弹簧穿插在一起,以帮助调整弹簧层的性能。

这种弹簧可以采用各种柔性金属,例如弹簧钢、镍铬铝合金、铍铜合金、不锈钢、钴镍合金等弹簧金属。苹果公司表示,折叠屏设备中引入弹簧层,一方面可以缓解设备在撞击、挤压等事件中受到的外部压力,而另一方面也可以缓解屏幕在反复折叠和展开过程中受到的应力影响,从而提高折叠屏设备的耐用性。苹果认为这种弹簧层可以缓解外部压力,并防止过度局部变形。




以上就是本期的全部讲解了,感兴趣的朋友可以关注小编,后续将带来更多精彩内容。