今天小编和大家聊聊关于AMD 最近获得批准的一项技术专利揭示了公司对“多芯粒”(multi-chiplet)GPU 设计的深入研究,预示着其下一代 RDNA 图形架构可能迎来重大革新。那么接下来我们就一起去看一下吧。

虽然“多芯粒模块”(MCM)的设计方法在业界并不新鲜,但随着单片设计的局限性逐渐显现,MCM 方案正变得越来越受欢迎。AMD 在此领域拥有丰富的经验,例如其Instinct MI200 AI加速器系列就采用了MCM设计,将多个图形处理单元(GPU)、HBM存储器堆栈和I/O芯片集成在一个封装中。此外,AMD在其最新的RDNA 3架构,如Navi 31上,也采用了MCM解决方案。

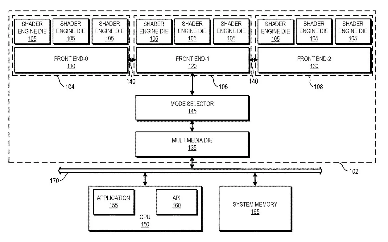
这项新专利详细阐述了三种不同的操作“模式”,每种模式都有其独特的资源分配和管理方式:
统一GPU模式:在这种模式下,所有的芯片作为一个统一的处理单元运行,共享资源并协同工作,类似于传统的GPU架构。
独立模式:每个芯粒在这种模式下独立操作,拥有自己的前端芯片,负责为其着色器引擎芯片分配任务,实现更高效的任务调度。
混合模式:结合了统一处理和独立处理的优势,芯粒可以根据需要独立运行或协同工作,这种模式提供了更高的灵活性和资源利用效率。

以上就是本期的全部分享,那么感谢大家的收看,我们下期资讯再见。